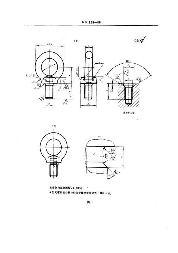
GB825-88《吊环螺钉》是中国国家标准中关于吊环螺钉的技术规范标准。该标准规定了吊环螺钉的型式、尺寸、技术要求、试验方法、检验规则以及标志与包装等内容,适用于机械设备和工程结构中用于起吊的吊环螺钉。标准旨在确保吊环螺钉的设计、制造和使用符合安全性和可靠性的要求,为相关行业的生产和应用提供统一的技术依据。

GB825-88《吊环螺钉》是中国国家标准中关于吊环螺钉的技术规范标准。该标准规定了吊环螺钉的型式、尺寸、技术要求、试验方法、检验规则以及标志与包装等内容,适用于机械设备和工程结构中用于起吊的吊环螺钉。标准旨在确保吊环螺钉的设计、制造和使用符合安全性和可靠性的要求,为相关行业的生产和应用提供统一的技术依据。

声明:资源收集自网络无法详细核验或存在错误,仅为个人学习参考使用,如侵犯您的权益,请联系我们处理。
不能下载?报告错误