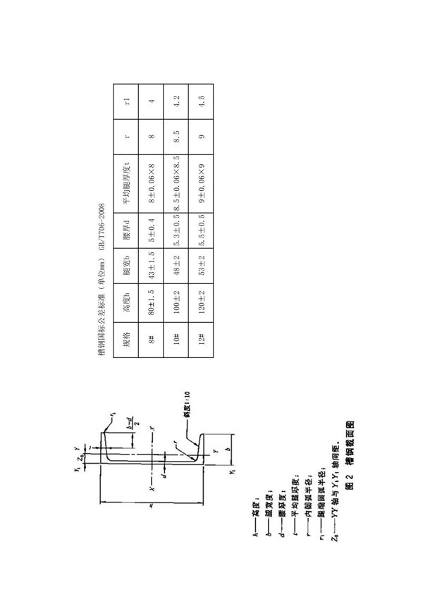
槽钢国标公差标准简介8#、10#、12#槽钢是常见的槽钢规格,其公差标准依据国家标准GB/T706-2016《热轧型钢》执行。1.**高度公差**:8#、10#、12#槽钢的高度允许偏差为±2.0mm。2.**腿宽公差**:腿宽允许偏差为±2.0mm。3.**腰厚公差**:腰厚允许偏差为±0.3mm。4.**长度公差**:通常长度为6m~12m,定尺长度允许偏差为+50mm。5.**弯曲度**:每米弯曲度不超过3mm,总弯曲度不超过总长度的0.3%。这些公差标准确保了槽钢在建筑、机械制造等领域的尺寸精度和使用性能。
