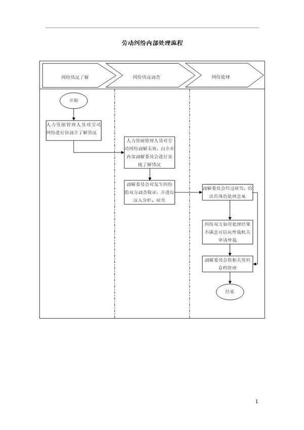
劳动纠纷处理流程模板简介劳动纠纷处理流程模板是一套系统化的指导方案,旨在帮助企业和员工高效、公平地解决劳动争议。该模板涵盖了从纠纷发生到最终解决的完整流程,包括协商、调解、仲裁和诉讼等关键环节,确保各方在合法合规的前提下维护自身权益。通过使用该模板,企业可以规范内部纠纷处理机制,减少法律风险,提升员工满意度;员工则能清晰了解维权途径,避免因程序不熟悉而延误解决时机。模板内容通常包含步骤说明、所需材料清单、时限要求及注意事项,适用于常见的工资争议、合同纠纷、解雇争议等劳动问题。无论是HR部门、法务人员还是普通劳动者,均可参照此模板快速启动纠纷处理程序,推动问题有序解决。
