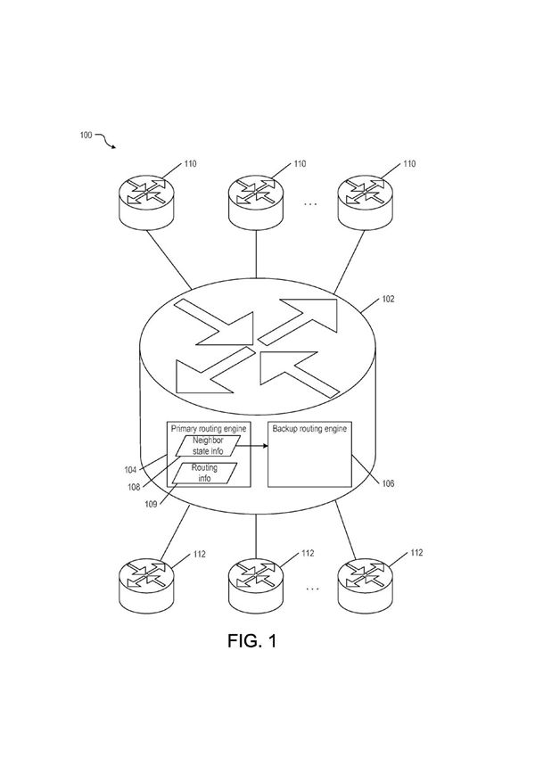
Non-StopRouting(NSR)isafeaturedesignedtoenhancethereliabilityandavailabilityofroutingprotocolsinnetworkdevices.Itensurescontinuouspacketforwardingandroutinginformationmaintenanceevenduringsoftwareorhardwarefailures,suchascontrolplanerestartsorsupervisorswitchovers.NSRachievesthisbymaintainingredundantroutingstatesandsynchronizingthembetweenactiveandstandbycomponents.Whenafailureoccurs,thestandbycomponenttakesoverseamlesslywithoutdisruptingdataplaneoperationsorrequiringprotocolre-convergence.Thisminimizesdowntimeandmaintainsnetworkstability.CommonlyimplementedinprotocolslikeOSPF,BGP,andIS-IS,NSRisparticularlyvaluableinmission-criticalnetworkswhereuninterruptedroutingisessential.Itcomplementsotherhigh-availabilitymechanismslikeGracefulRestart(GR)butoperatesindependently,eliminatingrelianceonneighboringdevicesforrecovery.ByleveragingNSR,networkoperatorscanachievecarrier-gradereliability,reduceserviceinterruptions,andimproveoverallnetworkresilience.
