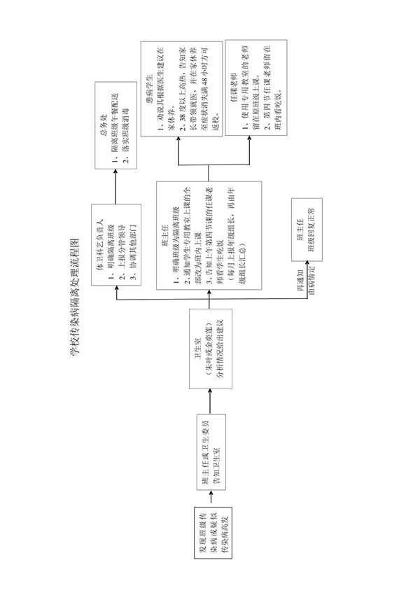
学校传染病隔离处理流程图是为了规范学校在传染病防控工作中的应急处理程序,确保师生健康安全而设计的指导性文件。该流程图详细展示了从发现疑似病例到最终解除隔离的全过程,包括病例报告、初步评估、隔离措施、医疗转诊、环境消毒、信息上报等关键环节。通过清晰的步骤指引和分工安排,帮助学校管理人员、教职工快速准确地采取相应措施,有效控制传染病传播风险,同时保障教育教学秩序的正常运行。流程图还体现了与疾控部门、医疗机构的协作机制,确保防控工作的科学性和时效性。

学校传染病隔离处理流程图是为了规范学校在传染病防控工作中的应急处理程序,确保师生健康安全而设计的指导性文件。该流程图详细展示了从发现疑似病例到最终解除隔离的全过程,包括病例报告、初步评估、隔离措施、医疗转诊、环境消毒、信息上报等关键环节。通过清晰的步骤指引和分工安排,帮助学校管理人员、教职工快速准确地采取相应措施,有效控制传染病传播风险,同时保障教育教学秩序的正常运行。流程图还体现了与疾控部门、医疗机构的协作机制,确保防控工作的科学性和时效性。

声明:资源收集自网络无法详细核验或存在错误,仅为个人学习参考使用,如侵犯您的权益,请联系我们处理。
不能下载?报告错误