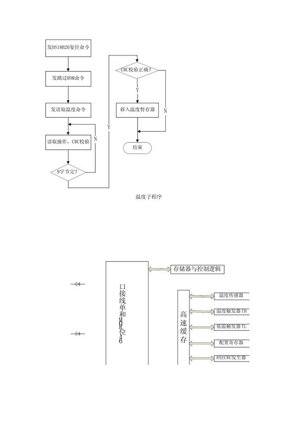
DS18B20温度传感器是一种数字温度传感器,采用单总线协议进行通信。其工作流程主要包括初始化、ROM命令操作、功能命令操作以及数据读写等步骤。流程通常从传感器初始化开始,主机发送复位脉冲并等待传感器的应答信号。接着通过ROM命令(如搜索ROM、匹配ROM等)选择目标设备,之后发送功能命令(如温度转换、读取暂存器等)执行具体操作。温度数据以9~12位数字格式存储,可通过读取暂存器获取,最后主机对原始数据进行解析并转换为实际温度值。该传感器具有高精度、抗干扰能力强等特点,适用于工业控制、环境监测等场景。
