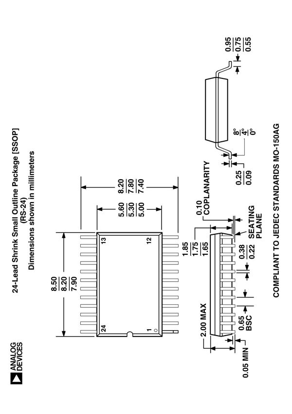
SSOP-24封装尺寸图简介SSOP-24是一种表面贴装封装,属于小外形收缩封装(ShrinkSmallOutlinePackage)系列,专为高密度PCB设计优化。该封装提供24个引脚,引脚间距通常为0.65mm或0.635mm,整体尺寸紧凑,适合空间受限的应用场景。尺寸图通常包含以下关键参数:1.封装长度、宽度与高度2.引脚间距(Pitch)3.引脚宽度与长度4.焊盘推荐尺寸(用于PCB设计)5.塑胶体与引脚公差范围典型应用包括集成电路、存储芯片和通信模块,其小尺寸和良好散热性能使其在消费电子和工业设备中广泛使用。设计时需严格参考厂商提供的尺寸图以确保焊接可靠性。
